Дифракционная решетка
Поскольку свет представляет собой волновое явление, ему присущи все свойства волны и в частности дифракция. Для использования дифракции в научных целях применяется специальный прибор, называемый дифракционной решеткой. Рассмотрим принцип его действия, приведем формулу дифракционной решетки.

Явление дифракции
Как известно из курса физики в 11 классе, свет представляет собой поперечную электромагнитную волну достаточно короткой длины. Любая волна способна огибать небольшие препятствия, после чего направление распространения волны меняется. Это изменение направления и называется дифракцией.
Механическую дифракцию можно наблюдать, если создавать волны на водной поверхности, а на их пути поставить препятствие с отверстием. Если отверстие будет велико, волны пройдут через него, не меняя направления. Однако, если отверстие будет небольшим, волны за отверстием будут расходиться во все стороны, и фронт волны будет иметь вид полукруга.

Рис. 1. Дифракция волн на воде.
То же самое происходит с волной света, прошедшей сквозь маленькое отверстие или тонкую щель. Если щелей будет несколько, то расходящиеся в результате дифракции волны начнут смешиваться друг с другом, и за такими щелями возникнет интерференционная картина светлых и темных полос (напомним, интерференцией называется смешение нескольких волн в одной точке). Причем эта картина будет существенно зависеть от длины световой волны, и если свет, падающий на щели, будет иметь сложный состав, то интерференционная картина станет радужной.
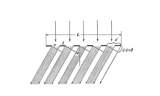
Дифракционная решетка
Описанное явление применяется в специальном оптическом приборе, который называется дифракционной решеткой. Классификация дифракционных решеток включает прозрачные и отражающие решетки. Прозрачные представляют собой совокупность большого числа параллельных близко расположенных щелей. Отражающие решетки состоят из отражающих участков. Как правило, число щелей или отражающих участков на 1 мм достигает нескольких тысяч. Важнейшим параметром дифракционной решетки является шаг $d$, равный расстоянию между центрами соседних щелей или отражающих участков и имеющий порядок, как правило, от единиц до полутора-двух десятков микрометров.
Для расчета угла, под которым наблюдаются максимумы интерференционной картины спектров порядка $k = 0,1,2…$, используется формула:
$$d sin varphi = pm klambda$$
Лучи, прошедшие сквозь дифракционную решетку, собираются линзой на экране. Поскольку угол отклонения зависит от длины волны, то максимумы для различных волн располагаются на различном расстоянии, а белый свет разлагается в спектр. При этом играет роль точность изготовления и разрешение решетки – чем они выше, тем более близкие спектральные линии можно различить.
Дифракционные решетки находят применение при точных измерениях длины волны либо при выделении из сложной смеси излучения основной длины волны. Кроме того, зависимость расположения максимумов дифракционной картины от угла отклонения позволяет использовать дифракционные решетки в специальных устройствах для измерения малых линейных и угловых смещений.

Рис. 2. Фото дифракционной решетки.
Цветную картину разложения белого света в спектр в результате дифракции можно наблюдать на крыльях некоторых бабочек. Эти узоры образованы мельчайшими чешуйками, размерами сравнимыми с длиной волны света. Сами чешуйки у многих видов практически бесцветны. Получающийся узор полностью определяется дифракцией света, отраженного от чешуек. По сути, такие крылья являются природной отражательной дифракционной решеткой.

Рис. 3. Узоры крыльев бабочек.
Что мы узнали?
Дифракционная решетка — это специальный оптический прибор, представляющий собой ряд штрихов, задерживающих световой поток. Дифракционная решетка может быть прозрачной или отражающей. Дифракционные решетки используются для разложения света в спектр, для измерения длин световых волн, а также для измерения линейных и угловых смещений.